Печь для прокалки и хранения флюса с цифровым термостатом SDF-50
SDF-50 Контейнер для прокалки и хранения флюса, 400V AC 50/60Hz (SDF-50 Flux Drying Oven, 3ph 400V AC 50/60Hz), артикул 0700100021, - это большие контейнеры для прокалки и хранения сварочного флюса. Печь оснащена колесами для перемещения, а также цифровым термостатом с широким диапазоном температур. После прокалки температура автоматически опускается до рекомендованной предварительно установленной температуры хранения в 130°C.
- Вместимость 50 кг
- Диапазон температуры 0 - 400°C.
| Технические характеристики | |
| Входное напряжение | 3ф 380 - 415 В (110 - 230 В) |
| Выходная мощность | 3000 Вт |
| Выходной ток | 14 А |
| Габариты ДxШxВ | 1070 x 670 x 1130 мм |
| Вес | 110 кг |
Информация для заказа
| Информация для заказа | |
| Печь для прокалки флюса SDF-50, 3ф 400В AC 50/60Гц | 0700100021 |
| Печь для прокалки флюса SDF-50, 1ф 230В AC 50/60Гц | 0700100059 |
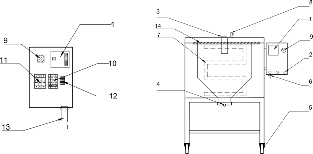
Запасные и изнашиваемые части
| Запасные и изнашиваемые части | ||
| 1 | Цифровой термостат DT-109A | 0700100002 |
| 2 | Сигнальная лампа 230В | 0700100003 |
| 2 | Сигнальная лампа 110В | 0700100004 |
| 3 | Дверная ручка | 0700100006 |
| 4 | Рычаг съемника SDF-50 | 0700100028 |
| 5 | Ролики без тормоза передние | 0700100008 |
| 5 | Ролики с тормозом задние | 0700100009 |
| 6 | Кабельная муфта | 0700100031 |
| 7 | Нагреватель 230В | 0700100011 |
| 7 | Нагреватель 110В | 0700100012 |
| 8 | Пневмоклапан | 0700100020 |
| 9 | Выключатель питания | 0700100018 |
| 10 | Предохранитель (автоматический) 10А | 0700100015 |
| 10 | Предохранитель (автоматический) 2А | 0700100016 |
| 11 | Замыкатель 230В | 0700100017 |
| 11 | Замыкатель 110В | 0700100023 |
| 12 | Клемма | 0700100019 |
| 13 | Кабель питания 400В с вилкой CEE 5x32А | 0700100013 |
| 13 | Кабель питания 110В с вилкой | 0700100014 |
| 14 | Стекловолоконный фитиль SDF-50 | 0700100163 |
Для покупки товара в нашем интернет-магазине выберите понравившийся товар и добавьте его в корзину. Далее перейдите в Корзину и нажмите на «Оформить заказ» или «Быстрый заказ».
Когда оформляете быстрый заказ, напишите ФИО, телефон и e-mail. Вам перезвонит менеджер и уточнит условия заказа. По результатам разговора вам придет подтверждение оформления товара на почту или через СМС. Теперь останется только ждать доставки и радоваться новой покупке.
Оформление заказа в стандартном режиме выглядит следующим образом. Заполняете полностью форму по последовательным этапам: адрес, способ доставки, оплаты, данные о себе. Советуем в комментарии к заказу написать информацию, которая поможет курьеру вас найти. Нажмите кнопку «Оформить заказ».
«Компания ТНД» — официальный дистрибьютор концернов ESAB и GCE KRASS. Мы предлагаем удобные и гибкие способы оплаты, адаптированные как для юридических лиц (организаций), так и для физических лиц.
Для юридических лиц:
- Оплата по безналичному расчёту с НДС. Оформление происходит на основании выставленного счёта, спецификации или договора, который оформляют наши менеджеры.
- После подтверждения оплаты (поступления денежных средств на наш расчётный счёт) возможна отгрузка: самовывоз с нашего склада или доставка через транспортные компании. При оформлении отгрузки предоставляются оригиналы документов — товарная накладная ТОРГ-12 и счёт-фактура.
- Отсрочка платежа: возможна для организаций при заключении долгосрочных договорных отношений.
Для физических лиц:
- При самовывозе в офисе: оплата наличными или картой.
- Онлайн-оплата: по выставленному счёту через сервис электронных платежей Юмани. На сайте Юмани можно оплатить с любой российской банковской карты (Visa, Mastercard, UnionPay, «Мир»), даже если карта не привязана к кошельку. Поддерживаются также платежи из электронных кошельков, через интернет-банкинг, наличными, по QR-кодам и др.
- Рассрочка через Т-Банк: решение по заявке занимает 1–2 минуты, оформление происходит через СМС-подписание без встреч и лишних документов. Условия индивидуальны и зависят от суммы и срока, обычно рассрочка предоставляется на сумму от 3 до 200 тысяч рублей на срок от 3 месяцев до 3 лет.
- Оплата при получении товара: оплата наличными или картой курьерским службам (CDEK, «Достависта») либо через Почту России.
Наши специалисты всегда готовы помочь вам выбрать наиболее удобный способ оплаты и оформить заказ на качественную продукцию ESAB и GCE KRASS.
Обратите внимание, что для некоторых товаров со статусом «НЕТ В НАЛИЧИИ» или «под заказ» менеджер может запросить предоплату для оформления заказа.
Для юридических лиц
(по предоплате или по договору с отсрочкой)
- Доставка по РФ через ТК "Деловые линии" (бесплатно до терминала в Москве)
- Доставка любой транспортной компанией на Ваш выбор
- Доставка по Москве и Московской области
- Бесплатная доставка электродов ОК 46.00 по Москве (внутри МКАД) от 150 кг
- Доставка через СДЭК
- Самовывоз с оптового склада: ул. Плеханова, 12с4
Для физических лиц
(предоплата или оплата при получении)
- Курьер по Москве (внутри МКАД): от 400 руб. (до 10 кг)
- Экспресс-доставка Яндекс GO по тарифам сервиса
- Почта России (не более 100 000 руб.)
- СДЭК (пункты выдачи: склад-склад и курьерская доставка склад-дверь, бесплатная отправка до склада в Москве)
- Транспортные компании: "Деловые линии" или любая на выбор
- Самовывоз из магазина Москва, ул.Электродная 11, оф.107


