Как выбрать маску сварщика с автоматическим затемнением
Рекомендации по выбору маски для сварочных работ

При каждом зажигании сварочной дуги сварщик сталкивается с множеством опасных факторов: интенсивным световым излучением, искрами, брызгами расплавленного металла и вредными газами. Сварочная маска – это не просто часть профессиональной экипировки; она является критически важным средством индивидуальной защиты, обеспечивающим безопасность сварщика в процессе работы. Она способна снизить риск травм, ожогов и хронических заболеваний, вызванных постоянным воздействием излучения. Современные маски для сварки оснащены функцией автоматического затемнения, благодаря чему обеспечивается не только удобство использования, но и возможность адаптации к различным условиям сварки. Тем не менее, повышенная функциональность и широта выбора в современном ассортименте сварочных масок требует от профессионалов особого внимания к деталям при их выборе. В этой статье мы не только познакомим вас с ключевыми характеристиками сварочных масок, но и поможем определиться с тем, какая именно маска лучше всего подойдет для ваших потребностей, чтобы каждая сессия сварки была максимально безопасной и эффективной.
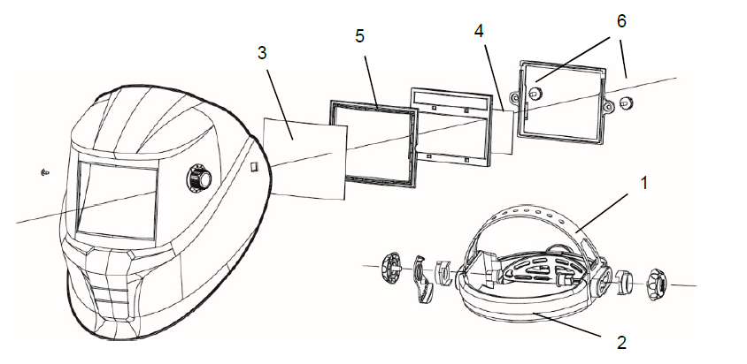
Устройство сварочной маски
Для обеспечения максимальной защиты и комфорта при выполнении сварочных работ, важно понимать устройство сварочной маски. Каждая маска состоит из нескольких ключевых компонентов, которые могут отличаться в зависимости от модели и типа маски.
- Корпус – главный элемент маски, обычно выполненный из ударопрочного и термостойкого материала, который не только обеспечивает защиту, но и держит в себе другие конструктивные элементы.
- Оголовье и мягкая накладка на оголовье – обычно это регулируемая система ремешков и хомутов, которая позволяет надежно удерживать маску на голове сварщика и при этом обеспечивает удобство и свободу движений. Мягкая накладка необходима для большего комфорта сварщика при контакте кожи головы с пластиковыми элементами оголовья, а также позволяют защитить глаза от капель пота.
- Наружное защитное стекло – защищает основное смотровое стекло и светофильтр от искр, брызг расплавленного металла и других механических воздействий.
- Внутреннее защитное стекло – это прозрачный элемент, через который сварщик наблюдает за процессом работы, обеспечивающий четкость видимости и защиту от ультрафиолетового и инфракрасного излучения, а также служит дополнительной защитой для глаз сварщика в случае разрушения наружного стекла и светофильтра от удара осколков.
- Светофильтр – задача этого компонента заключается в автоматическом регулировании уровня затемнения (светофильтр-хамелеон) или в постоянном затемнении (стеклянный светофильтр) в зависимости от интенсивности света, что позволяет защитить глаза от ослепления и излишнего утомления.
- Фиксатор стекла – удерживает смотровое стекло и светофильтр и может быть интегрирован непосредственно в корпус или представлять собой отдельный механизм, позволяющий быстро заменять или регулировать положение стекла, а также используется для установки дополнительных стекол с диоптриями
Корректно подобранная сварочная маска с качественными компонентами значительно повышает безопасность и комфорт в процессе сварки, позволяя сварщику сосредоточиться на качестве выполнения задачи. Далее в статье мы рассмотрим работу сварочной маски, разновидности масок для сварки, раскроем ключевые параметры выбора и подведем итоги, для того чтобы каждый профессионал мог осознанно подходить к этому важному аспекту своей работы.
Принцип работы сварочной маски
Перед тем как окунуться в мир многообразия сварочных масок, крайне важно понять, как работает это современное средство защиты. Сварочные маски с автоматическим затемнением, часто называемые "Хамелеонами", являются настоящим технологическим прорывом в индустрии защиты сварщиков.
Принцип работы сварочной маски-хамелеона заключается в использовании специальных сенсоров, которые реагируют на возникновение сварочной дуги и моментально активируют жидкокристаллические слои в светофильтре. Этот процесс изменяет уровень прозрачности светофильтра за считанные микросекунды (от 10 до 100 мкс) и таким образом защищает глаза сварщика от вредного воздействия жесткого ультрафиолетового и инфракрасного излучения. Источники питания - литиевые и/или солнечные батареи - обеспечивают долговременную и надежную работу маски.
Современные жидкокристаллические светофильтры выполнены из большого количества слоев, рассчитанными на постоянную фильтрацию вредного излучения. Под напряжением слой ЖК кристаллов ориентируется в пространстве таким образом, что часть проходящего через него потока света блокируется. А внешний слой из поликарбоната защищает остальные элементы фильтра от механических повреждений. Автоматический светофильтр также имеет слой, который служит для фильтрации ИК и УФ излучения на постоянной основе.
Разновидности масок для сварки
На рынке представлено несколько основных видов сварочных масок:
- Сварочные щитки - самая простая форма маски, которая предполагает мануальное удержание или фиксацию на голове при помощи специальной дужки.
- Маски с креплением - удобные для работы маски, надевающиеся на голову или фиксирующиеся на защитном шлеме/каске.
- Маски с подъёмным фильтром-козырьком - позволяют сварщику поднимать светофильтр, не снимая саму маску, что удобно для оценки работы и перемещений.
- Маски с автоматическим затемнением ("Хамелеон") - обеспечивают непрерывную работу благодаря автоматическому регулированию степени затемнения в зависимости от интенсивности источника света.
- Маски с принудительной подачей воздуха (for air) - предлагают дополнительную защиту, фильтруя блок принудительной подачи воздуха PAPR и подавая свежий воздух под маску, что повышает комфорт при длительных работах.



Параметры выбора сварочной маски
Выбор правильной сварочной маски должен основываться на следующих параметрах:
- Материал корпуса: Необходимо отдать предпочтение маске из ударопрочного и термостойкого пластика, который также служит диэлектриком, обеспечивая дополнительную защиту от электрического тока.
- Габариты и вес: Легкая маска снижает нагрузку на шею и плечи сварщика, позволяя удобнее и продолжительнее работать.
- Оголовье: Выбирайте маску с надежными и регулируемыми ремнями оголовья, обеспечивающими правильное прилегание маски и комфортное расположение.
- Тип Светофильтра: Рассмотрите автоматические светофильтры-хамелеоны с плавной или ступенчатой регулировкой светочувствительности, которые предоставляют больше гибкости в различных сварочных условиях, или остановите свой выбор на стеклянном светофильтре с постоянным затемнением. Преимущество стеклянного светофильтра будет его простота и надёжность, а также возможность работы при пониженных температурах (при температуре ниже -20°C жк-светофильтр может не справляться со своей задачей)
- Гарантии производителя и документация: Убедитесь, что маска имеет гарантийный талон, а к светофильтру прилагаются все необходимые сертификаты и инструкции.
Итоги
Выбор сварочной маски - это вопрос, требующий внимания к множеству деталей. Правильно подобранная маска обеспечивает не только безопасность, но и удобство работы, что важно для профессиональных сварщиков, проводящих длительное время под маской. Основываясь на принципах работы, разновидностях масок и ключевых параметров выбора, каждый специалист сможет подобрать оптимальное средство индивидуальной защиты для своих задач. Не скупитесь на качество и функциональность, ведь речь идет о вашей безопасности и продуктивности на рабочем месте.
Независимо от того, выбираете ли вы новый ESAB Savage A40 или нашу популярную профессиональную сварочную маску Sentinel A60, вы получите потрясающее сочетание технологий и производительности.
|
Savage A40 |
Параметр |
Sentinel A60 |
![]() |
Фото |
![]() |
| 1/1/1/2 | Оптический уровень | 1/1/1/1 |
| 100 x 50 мм | Область обзора | 118 x 71 мм |
| Да | True Color | Да |
| Нет | Touchscreen | Да |
| DIN 9–13 | Уровень затемнения | DIN 5–13 (с шагом 0,5) |
| Внешние | Регулировки | Внутренние |
| Да | Шлифовка | Да |
| 4 | Датчики | 4 |
| Солнечные элементы и батарея CR2450 | Питание | Солнечные элементы и 2 сменных батареи CR2450 |
| 0,1 – 0,9 с | Затемнение | 0,1 – 0,9 с |
| 3 позиции | Оголовье | 5 позиций |
| Да | Крепление на каску | Да |
|
Да Savage A40 for Air + блок подачи PAPR |
Возможность принудительной подачи воздуха |
Да Sentinel A60 for Air + блок подачи PAPR |
| Нет | Память | Да |
| 490 г | Вес | 640 г |

